中央运送业务的信息化已经是医院后勤领域里信息化做得最效果最好、开展最广泛的一项业务,通过运送系统管理、跟踪和统计医院的运送业务,并得到了各方的认同。
四种运送业务模式,六种确收功能模式。

#数字后勤,智慧辅助#

经过长期的系统实施和运营的经验积累,目前中央运送已经对更多的现场业务提供了良好的支持,并能够适应现场业务管理的更多需求。
以下是医院中央运送业务的四种常见的业务模式,均在我们的中央运送管理系统中得到了很好的支持和应用:
一、普通单模式
普通单一般指物品、物料、标本、文件等普通物品点到点运送,即从一个科室运送到另一个科室,这是最常见的运送场景。
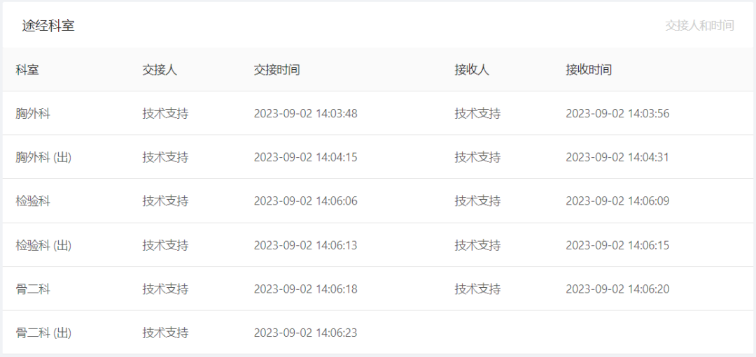
普通模式支持类型、取件与收件科室、备注、预约等各种业务特点。当然也支持我们所提供的五种确认模式和院方主动确收模式。
二、病人单模式
包括病人姓名、是否传染、是否需要运送工具等选项,一般用于病人接送、转运、陪诊等业务场景。也是医院最关注的提升患者院感和服务体验的项目。
三、驻守模式
驻守模式多用于陪诊陪检多的项目,由专人驻守在检验科室,负责本科室的所有多名病人的检验检查项目,并交接由他人送入或接出病人。这种模式是为了提高陪诊陪检效率。

四、巡回模式
巡回模式多用于需要多科室收集或派送的运送业务,比如到多科室收集检验样本,集中送到检验科,或者从行政部领取多份文件,派发到多科室等业务场景。


#数字后勤,智慧辅助#
五、五种确认模式与院方主动确收
智辅医院后勤管理系统的中央运送系统,支持五种确认模式和额外的院方主动确收模式。五种确认模式包括:蓝牙、NFC、拍照、二维码、手工。根据不同的业务类型和场景需要,运送类型可选择配置其中的确认模式。

院方主动确收,是指院方通过院方端(PC系统或平板、手机APP)主动确认收到运送标的。这种模式院方参与并主动确认,可减少业务风险,并提高院方的参与性。同时院方可对运送任务进行评价和动分,有利于提高业务质量和运送工人的服务意识。